This website is set up to recieve freely submissions and posts from individuals, to discuss thier experiences of Invention, Innovations Consultants, Innovation Companies and Regional Development Agencies in the UK.
Wednesday, 14 December 2022
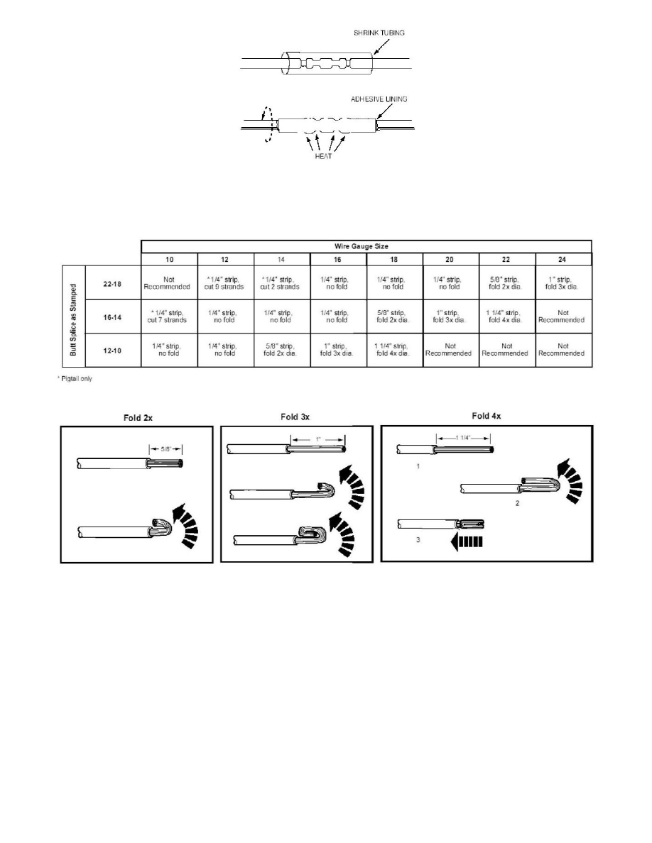
Lincoln Auto Greaser P203 Wiring Diagram, My Blower Motor Is Always On ,but No Power To The Temp Control Panel(89
[diagram] lincoln quicklub wiring diagram full version hd quality

Get lincoln auto greaser wiring diagram sample. [diagram] lincoln quicklub wiring diagram full version hd quality. Routing hose ac heater 1988 lincoln town vaccum schematic mercury question ask own. 1999 lincoln towncar ac doesnot work. fan will run but the compressor
Subscribe to:
Post Comments (Atom)


![[DIAGRAM] Lincoln Quicklub Wiring Diagram FULL Version HD Quality](https://ww2.justanswer.com/uploads/fordguy4u/2012-07-28_134757_a1.jpg)



![[DIAGRAM] Lincoln Quicklub Wiring Diagram FULL Version HD Quality](https://www.hydrokit.com/PartageWeb/Fiche Tech Web Fr/CP203E2.jpg)



No comments:
Post a Comment